
Thứ Bảy, 10/03/2018 15:07
(GMT+7)
Apple xin cấp bằng sáng chế bàn phím chống bụi, nước
Một bằng sáng chế mới được đệ trình bởi Apple, hứa hẹn có thể giải quyết vấn đề mà hầu hết chúng ta đã phải đối mặt ở cách này hay cách khác.

Trong tương lai bàn phím MacBook của Apple sẽ chống tràn tốt hơn?
Theo Neowin, trong vài tháng qua đã có một số bằng sáng chế thú vị của Apple được đăng tải, bao gồm giao diện người dùng dựa trên cử chỉ như Kinect với một thiết bị ngoại vi bổ sung, và gần đây là một bằng sáng chế cho một thiết bị màn hình kép.
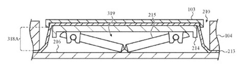
Bằng sáng chế mới được Apple nộp lên Văn phòng Sáng chế và bản quyền Mỹ (USPTO) mô tả các thiết bị đầu vào bao gồm cơ chế giúp ngăn ngừa hoặc giảm thiểu tác động bởi sự xâm nhập của các chất gây ô nhiễm (như bụi, chất lỏng…). Các cơ chế này có thể bao gồm các màng hoặc miếng đệm ngăn chặn sự xâm nhập của chất gây ô nhiễm, các cấu trúc như bàn chải, khăn lau…

Một phần trong mô tả bằng sáng chế phím bấm trên bàn phím Apple
Nội dung bằng sáng chế tiếp tục mô tả phương pháp giúp loại bỏ chất ô nhiễm trên bàn phím, đó là ổ chuột làm nổ các chất gây ô nhiễm bằng khí nén từ các mũ phím, vào các lỗ hổng trên bề mặt bàn phím. Các cơ chế hoạt động hoặc thụ động khác làm loại bỏ các chất gây ô nhiễm khỏi bàn phím.
Theo thanhnien.vn