ClockThứ Hai, 20/07/2020 10:41

Apple Pencil sẽ có tính năng 'chưa từng thấy'

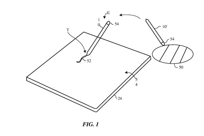
Apple vừa nhận bằng sáng chế mới cho Apple Pencil, trong đó mô tả tính năng cho phép chiếc bút stylus này có thể "copy màu sắc" từ đời thực.

Apple tăng sức mạnh cho trình duyệt Safari trên iOS và iPadOS 14Apple Pencil chưa thể sạc bằng công nghệ Qi

Bằng sáng chế được phát hiện bởi PatentlyApple. Apple đang nghiên cứu một phiên bản Apple Pencil mới được tích hợp sẵn các cảm biến màu sắc. Những cảm biến này sẽ làm nhiệm vụ sao chép màu sắc từ một đối tượng trong thế giới thực, sau đó vẽ chính xác màu đó lên iPhone hoặc iPad.

Sáng chế mô tả tính năng "copy màu" từ đời thực vào iPad bằng Apple Pencil.

Bằng sáng chế cũng mô tả khá nhiều chi tiết về công dụng tiềm năng của Apple Pencil, gồm lấy mã màu từ danh mục in, sao chép màu sắc lập tức từ các đồ nội thất, da người, cây trồng...

Forbes đánh giá, công nghệ mới của Apple nếu được vận dụng vào đời thực, sẽ mở ra một thế giới hoàn toàn mới trong việc sử dụng smartphone, máy tính bảng cho các lĩnh vực khác nhau.

Cụ thể, trong lĩnh vực nhiếp ảnh, các nhiếp ảnh gia có thể thực hiện phép đo màu chính xác, từ đó giúp tác phẩm của mình chân thực hơn. Điều này là hết sức cần thiết, nhất là khi công nghệ của màn hình máy tính hiện nay chưa thực sự hiển thị chuẩn xác màu sắc.

Ở lĩnh vực y tế, bác sĩ có thể sử dụng Apple Pencil để kiểm tra màu sắc của glucose, protein, ketone hoặc pH trên các que thử, sau đó đối chiếu với dữ liệu có sẵn để đánh giá mức độ nhiễm bệnh của bệnh nhân. Điều này có thể mở ra hướng theo dõi sức khỏe tiên tiến, có thể thực hiện từ xa, cũng như giúp y bác sĩ thu thập các dữ liệu quan trọng để phục vụ nghiên cứu.

Tuy vậy, việc Apple hiện thực hóa tính năng mới vào bút Apple Pencil đang bị bỏ ngỏ. Trong quá khứ, không ít lần công ty Mỹ đăng ký sáng chế, sau đó không làm gì, hoặc đợi nhiều năm mới áp dụng vào sản phẩm thực tế.

Apple Pencil lần đầu tiên xuất hiện vào tháng 11/2015, khi công ty Cupertino (Mỹ) ra mắt iPad Pro 12,9 inch. Tháng 3/2017, Apple đã mở rộng khả năng tương thích của chiếc bút này với iPad 9,7 inch chi phí thấp hướng đến giáo dục. Phiên bản thứ hai ra mắt tháng 10/2018. Không giống như đời đầu phải cắm vào cổng Lightning, chiếc bút mới có thể gắn vào cạnh của bất kỳ iPad Pro thế hệ thứ 3 nào để sạc.

Theo vnexpress.net

ĐÁNH GIÁ
Hãy trở thành người đầu tiên đánh giá cho bài viết này!
  Nội dung góp ý

BẠN CÓ THỂ QUAN TÂM

TIN MỚI

Return to top