
Thứ Hai, 11/06/2018 10:49
(GMT+7)
Apple âm thầm nghiên cứu thiết bị có khả năng đo huyết áp
Giới công nghệ đang đồn đoán về việc liệu Apple có một thiết bị chuyên về sức khoẻ và thay thế vai trò của Apple Watch trong tương lai?

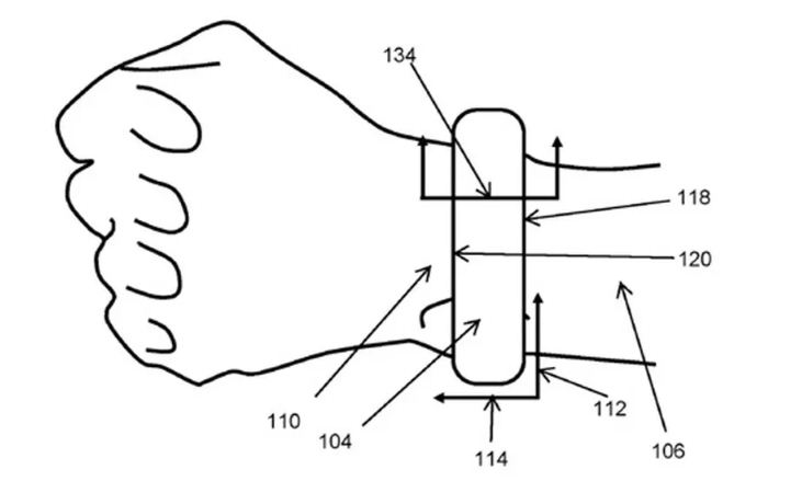
Apple vừa được cấp bằng sáng chế cho một thiết bị đặc biệt. Đó là chiếc vòng tay có khả năng theo dõi sức khoẻ. Thiết bị đeo được này có khả năng đo huyết áp thông qua các cảm biến và liên tục theo dõi mức độ huyết áp cao hay thấp và cảnh báo cho người dùng.
Theo như miêu tả của Apple, mẫu vòng đeo tay này có màn hình cảm ứng và có khả năng kết nối bluetooth. Đó là tập hợp của hệ thống bao gồm các túi khí nhỏ hoặc các cell (tế bào).
Chúng sẽ gây áp lực lên cánh tay của người dùng và từ đó kiểm tra được lưu lượng máu thông qua cảm biến đặt trong các túi khí. Thiết bị này còn có một bộ truyền động để đo mức áp lực cần thiết đối với cánh tay, tạo sự thoải mái cho người dùng.
Hiện vẫn chưa rõ Apple sẽ cho ra đời một thiết bị hoàn toàn mới hay tích hợp chúng vào trong những chiếc Apple Watch. Dù trong trường hợp nào, thiết bị của Apple cũng phải đáp ứng được các điều kiện nghiêm ngặt của FDA trước khi có thể được đưa ra thị trường.
Theo vietnamnet.vn