
Thứ Ba, 22/01/2019 09:56
(GMT+7)
Smartphone màn hình gập của Motorola lộ diện
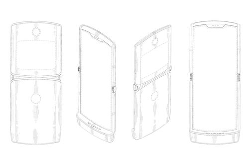
Smartphone này có thiết kế tương tự như model huyền thoại RAZR trước đây của hãng.

Smartphone màn hình gập của Motorola với thiết kế siêu mỏng.
Bằng sáng chế của Motorola được chia sẻ trên Internet tuần này cho thấy điện thoại sắp tới của hãng có thiết kế rất mỏng. Thiết bị thừa hưởng hầu hết các chi tiết của model mang tính biểu tượng một thời RAZR với phần đế dày lên và mặt ngoài có một màn hình mỏng.
Model này sử dụng màn hình OLED có thể gập giống như Samsung Galaxy X. Phía trên màn hình vẫn có thiết kế tai thỏ để bố trí tai nghe.
Thiết kế cũng cho thấy có thể thiết bị sẽ sử dụng camera đơn phía sau cùng cảm biến vân tay vật lý. Sản phẩm thương mại được cho là sẽ được giới thiệu vào tháng sau với giá khoảng 1.500 USD.
Theo vnexpress.net